Shaddai

Learn Hebrew

Audio Tanakh

Hebrew Training

Hebrew for Christians
BS''D
The Letter Bet / Vet
Alphabet
Aleph Gimmel

Chart

Phonetics

Manual Print (block)

Hebrew Script (cursive)

Practice

Dageshim

Summary

The Letter Bet / Vet

The second letter of the Hebrew alphabet is called "Bet" (rhymes with "mate") and has the sound of "b" as in "boy."

In modern Hebrew, the letter Bet can appear in three forms:

Forms of Bet

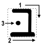
Write the manual print version (or "block" version) of Bet as follows:

Bet Block

Note that the second line extends past the vertical line to the right.

And the cursive version:

Bet Script

Note that the cursive version of Bet is formed using a single stroke.

Write the letter Bet (from right to left) in both manual print and script several times:

Practice Grid

Note: The sole difference between the letter Bet and the letter Vet is the presence or absence of the dot in the middle of the letter (called a dagesh mark). When you see the dot in the middle of this letter, pronounce it as a "b"; otherwise, pronounce it as a "v."

Vet not Bet
Bet/Vet Summary

 

Did you know?

The first letter of the Hebrew Bible is a Bet (Χ‘ΦΌ) rather than an Aleph (א), and certain Jewish sages have puzzled over why this is the case. One sage thought that this is because the letter Bet connotes power because of the force of air (ruach, Spirit) being spoken forth; another thought that by starting with a Bet rather than an Aleph, the Almighty was in effect revealing that man did not know the first principles about the creation; and yet another thought that since Aleph is a silent letter, it represents God in His ineffable glory and life, which forever precedes all things (see Isa. 44:6, cp. Rev. 22:13). Yeshua described Himself as the "Aleph and the Tav, the First and the Last" (Χ”ΦΈΧΦΈΧœΦΆΧ£ Χ•Φ°Χ”Φ·ΧͺΦΌΦΈΧ• הָראשׁ Χ•Φ°Χ”Φ·Χ‘ΦΌΧ•ΦΉΧ£), the One who encompasses all Reality and gives out its strength (Aleph) before the house (Bet) of creation in sacrificial love.

<< Return

Advanced Information

The letter Bet is the second letter of the Aleph-Bet, having the numeric value of two. The pictograph for Bet is a house or dwelling, and the "architecture" of the classical Hebrew letter likewise looks something like a house constructed of three Vavs. Notice the opening on the left side of the letter: it functions as a "window" for the letterform.

    1. Mysteries of Bet
       

      In Kabbalistic literature, Bet represents otherness, duality, paradox, creation, a dwelling place in lower reality. Since the three Vavs close off view above, below, and behind the Bet, we are left with mystery about the nature of plurality coming from oneness.

      The three Vavs add up to 18, the same value for chai, or life. The house of creation is then the life of the universe. Bet also has a prefixive function meaning "in," suggesting God's intention of abiding within the realm of creation.

      A midrash explains why Bet was selected as the first letter of the Tanakh (the word bereshit, the first word of the Torah). All of the letters are said to have appeared before God to make their appeal, but Bet was chosen because on account of it, all of creation will bless (barukh) God.


       
    2. Bet and the World to Come
       
      Another midrash says that the Torah begins with the letter Bet, which represents the number two, because God created not one world, but two. There is the realm of this world, called olam ha-zeh (Χ’Χ•ΦΉΧœΦΈΧ Χ”Φ·Χ–ΦΌΦΆΧ”), and there is the realm of the world to come, called olam ha-ba (Χ’Χ•ΦΉΧœΦΈΧ הַבָּא). We must live our lives in the present awareness of our eternal end in the world to come: "Know whence you came and to where you are going and before Whom you are destined to give a final accounting" (Pirkei Avot 3:1).


       
    3. Bet in the Tanakh
       
      The Scriptures begin with the book of Genesis, but in Hebrew this book is named after its first word: בְּר֡אשִׁיΧͺ (bereshit). The first letter of revelation from the LORD, then, was the Bet found in this word.

      In some Jewish scribal traditions, the Bet that marks the first letter of the Torah is made extra large and includes 4 taggin (crownlets) as opposed to its normal one.

      Bet is a plosive sound indicating force and power that proceeds from the mystery of Aleph that stands silently behind it:



      Interestingly, av (אב) is the word for Father, the One who creates the universe.


       
    4. Bet is a picture of Yeshua as Master of the House
       
      Consider the word בְּר֡אשִׁיΧͺ (bereshit) once again. Notice that the word is derived from the shoresh ראשׁ (rosh), which means head or chief:



      Since we know that Yeshua was "in the beginning with God" and is Himself God (John 1:1-2), the Head of the house of creation is no other than Yeshua the Messiah (Hebrews 3:4). This is further confirmed by looking at the verse from Genesis 1:1 alongside the verse from John 1:1:



      Yeshua is said to have "tabernacled" with us (John 1:14), whose body was indeed Χ‘ΦΌΦ΅Χ™Χͺ־א֡ל (Bet-El), the habitation of God Almighty.


       
    5. Bet and the Names of God
       
      Bet is used with several Names and Titles of God, including Borei Israel (Creator of Israel), but is primarily used with the Son of God: Χ‘ΦΌΦΆΧŸΦΎΧΦ±ΧœΧ”Φ΄Χ™Χ (ben Elohim). Interestingly, if we combine the name for father (i.e., av: אב) with the word for son (i.e., ben: (Χ‘ΦΌΦΆΧŸ), we have the word even (ΧΦΆΧ‘ΦΆΧŸ) meaning stone. Even Ma'asu (ΧΦΆΧ‘ΦΆΧŸ ΧžΦΈΧΦ²Χ‘Χ•ΦΌ) is the "Rejected Stone" and pictures the LORD Yeshua as the One rejected by Israel during His first advent.


       
    6. Bet is a picture of the Son of God
       
      The word for "create" in Hebrew is bara (בָּרָא), and the Aramaic word for son is bar (Χ‘ΦΌΦ·Χ¨). If we separate the letters within the word for bara, we will have bar Aleph (Χ‘ΦΌΦ·Χ¨ א), which points to the Son of the Father (Aleph). Thus we have:

      בְּר֡אשִׁיΧͺ Χ‘ΦΌΦ·Χ¨ א

      "In the beginning was the Son of Aleph..."


       
    7. Bet Pictograph
       
      The pictograph for Bet is that of a tent or house:


    8. Note that even though the pictograph may represent the basis for ketav Ivri, it most likely has pagan overtones.


Hebrew for Christians
Copyright © John J. Parsons
All rights reserved.

email